Posted by - support -
on - November 12, 2024 -
Filed in - Technology -
-
191 Views - 0 Comments - 0 Likes - 0 Reviews
Samsung is usually seen as the innovator in the smartphone space. Over the past few years, it has introduced several new groundbreaking and market-leading smartphone technologies. One of its patents reveals that it is finding ways to make haptic feedback more immersive to smartphones.
A new patent filed by Samsung Electronics was recently spotted by MSPowerUser. It talks about offering more precise haptic feedback on smartphone touchscreens. Samsung developed this method by using multiple vibration motos spread across the phone.
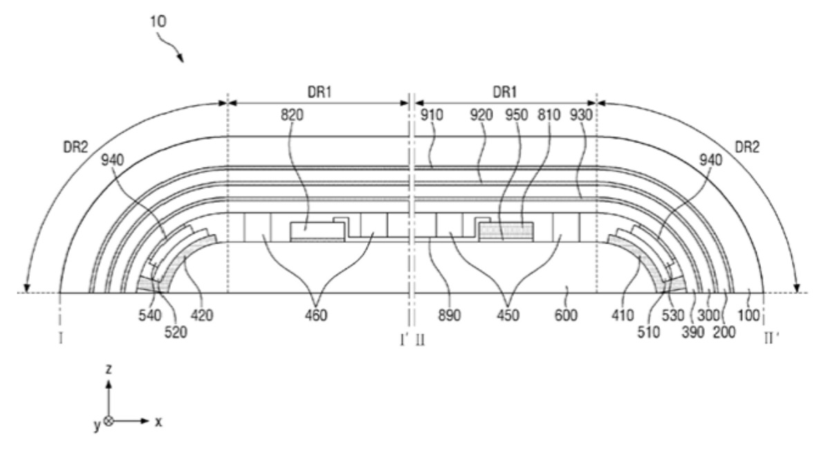
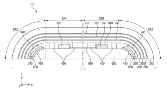
As you can see in the images above, a smartphone could have a touchscreen, pressure or touch sensors, and several haptic feedback motors spread across the phone's borders. The touchscreen and the pressure sensors detect where your finger is touching the screen. That data is sent to the vibration motors, and they respond so that you will sense haptic feedback the most where you touch the screen.
This way, a touchscreen could offer you a sense of pressing a real, physical button. This way, the smartphone can have a large touchscreen while also offering some sense of real buttons.
If the technology discussed in this patent is actually used in a smartphone, it could offer a lot more immersive experiences. One of those experiences could be precise feedback when you press a Bluetooth or Wi-Fi quick setting toggle. It could also offer precise rumble when you fire a bullet in a first-person shooter game.
If you remember, Samsung used a pressure-sensitive home button under the Galaxy S8's touchscreen. This button could take you to the home screen even when the phone is in sleep mode and navigate you to it from anywhere across the software if you long-press it.
The post Samsung working on immersive haptic feedback for phones appeared first on SamMobile.
At our community we believe in the power of connections. Our platform is more than just a social networking site; it's a vibrant community where individuals from diverse backgrounds come together to share, connect, and thrive.
We are dedicated to fostering creativity, building strong communities, and raising awareness on a global scale.